HELEZONLU FINDIK, KÖMÜR, PELET VE ÇEKİRDEK KABUKLARI YAKABİLEN KAT KALORİFERİ
- Kömür Alma Özelliği : Fındık kömür yakan stokerli kalorifer kazanı, helezonla yanma potasına kömür taşır, taşınan kömür pota içerisine eşit bir şekilde dağıldığı için, eşit dağılan kömürle birlikte oksijen dağılımıda eşit ve homojendir. Böylelikle yakıtta curuf ve çiğ dökülme kesinlikle olmamaktadır.
- Kazan Verimi : Zümrüt kalorifer kazanlarında kazan içerisinde zikzaklı montaj edilmiş 5 adet su plakası vardır. Su plakaları arasında alev 6 kez dolaşarak ısıyı tamamen kazan içerisinde tutar baca ısı kaybı olmaz.
- Kurum Temizliği : Zikzaklı olarak gelberi aletiyle plakalar arasında kurum üsten alta indirilerek kurum kazan içerisine boşaltılır. Temizliği yapan kişiye rahatsızlık vermez.
- Kazan Özelliği : Kazan içerisine oksijen verimi ve yakıt dağılımı özelliği sayesinde bacadan duman çıkarmadan yanar. Ve yakıt tasarrufuyla birlikte çevre kirliliği oluşturmaz.
- Kazan Kapağı Özelliği : Kapak Gg22 dökümden üretilmiştir. Kapakta bükülme olmaz. Kapakta açma kapamaya yarayan kol ve ateşleme camı vardır.
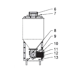
- Kabin Özelliği : Kabin bükümleri özel üretilmiş sıvama kalıplarda basılmaktadır. Bu sayede kabine zarif ve şık bir görüntü sağlamakta ve sıvama baskı sayesinde kabine sertlik verdirerek kabinin dayanıklılığını arttırmıştır.
- Elektrikli Motorların Özelliği : Yerli ve avrupa ürünler kullanılmaktadır.
- Kazan Gövdesi Çeliği : TSE ve Türk Standartları tarafından belirlenmiş kalite ve özellikte çelikten üretimlerimiz yapılmaktadır.
- Kömür Deposu : Kazan Yanarken ve çalışırken duman veya toz kesinlikle çıkmaz.
- Kazan Panosu : Pano Özel Zümrüt ısıya üretilmiştir. Enjeksiyon kalıplarda imalatı yapılmaktadır. Pano iç dizaynı tam dijital kaliteli elektrik malzemeleri kullanılmıştır.






| KRİTERLER | BİRİM | RDİ 45 | RDİ 60 | RDİ 80 | RDİ 120 | RDİ 150 | RDİ 200 |
| ÖLÇÜLER | A (cm) | 58 | 71 | 73 | 93 | 98 | 106 |
| B (cm) | 70 | 80 | 111 | 105 | 125 | 148 | |
| C (cm) | 150 | 163 | 163 | 180 | 180 | 180 | |
| D (cm) | 125 | 140 | 171 | 174 | 194 | 216 | |
| KAZAN AĞIRLIĞI | Kg | 370 | 480 | 690 | 980 | 1140 | 1360 |
| KÖMÜR KAPASİTESİ | Kg | 150 | 250 | 250 | 300 | 350 | 350 |
| KAZAN SU ÇIKIŞI - DÖNÜŞÜ | İnch | 1" | 1 1/4" | 1 1/2" | 2" | 2" | 2 1/2" |
| KAZAN SU DOLDURMA-BOŞALTMA | İnch | 1/2" | 1/2" | 3/4" | 3/4" | 3/4" | 3/4" |
| KAZAN İMBİSAT SU ÇIKIŞI - DÖNÜŞÜ | İnch | 1" | 1" | 1" | 1 1/2" | 1 1/2" | 1 1/2" |
| FAN DEBİSİ | m3/h | 600 | 750 | 750 | 750 | 750 | 1280 |
| BACA ÇAPI | Q (mm) | 127 | 170 | 200 | 270 | 270 | 270 |
| SU HAÇMİ | Lt | 80 | 120 | 160 | 270 | 340 | 400 |
| İŞLETME BASINCI | Bar | 3 | |||||
| MAX. ÇIKIŞ SUYU SICAKLIĞI | C | 90 | |||||
| MAX. DÖNÜŞ SUYU SICAKLIĞI | C | 70 | |||||







