MANUEL ELLE BESLEMELİ KALORİFER KAZANI
Yakıt ve Yanma Özelliği : Kazana orta kapaktan doldurulan yakıtlar, ateşle tutuşturulduktan sonra, kazan içerisine homojen verilen oksijen ile yanma dumansız bir şekilde gerçekleşir. Kazanın yan kısmındaki ızgara kolu ile kül elemesi yaparak kış boyunca kazanı söndürmeden, yakıt ilave ederek kullanabilirsiniz.
Kazan Verimi : Zümrüt kalorifer kazanlarında kazan içerisinde zikzaklı montaj edilmiş 5 adet su plakası vardır. Su plakaları arasında alev 6 kez dolaşarak ısıyı tamamen kazan içerisinde tutar baca ısı kaybı olmaz.
Kurum Temizliği : Zikzaklı olarak gelberi aletiyle plakalar arasında kurum üsten alta indirilerek kurum kazan içerisine boşaltılır. Bu işlem kısa sürede yapılır. Temizliği yapan kişiye rahatsızlık vermez.
Kazan Özelliği : Kazan içerisine oksijen verimi ve yakıt dağılımı özelliği sayesinde kazan bacadan duman çıkarmadan yanma yapar. Bu sayede yakıt tasarrufuyla birlikte çevre kirliliği oluşturmaz.
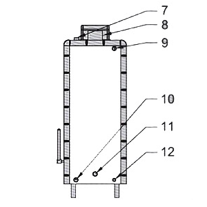
Kazan Kapağı Özelliği : Kapak Gg22 dökümden üretilmiştir. Kapakta bükülme olmaz. Kapakta açma kapamaya yarayan kol ve ateşleme camı vardır.
Kabin Özelliği : Kabin bükümleri özel üretilmiş sıvama kalıplarda basılmaktadır. Bu sayede kabine zarif ve şık bir görüntü sağlamakta ve sıvama baskı sayesinde kabine sertlik verdirerek kabinin dayanıklılığını arttırmıştır.
Elektrikli Motorların Özelliği : Çin ve benzeri ülkeler üretimi olmayan yerli ve avrupa ürünler kullanılmaktadır.
Kazan Gövdesi Çeliği : TSE Standartlarınca belirlenmiş kalite ve özellikte çelikten üretimlerimiz yapılmaktadır.
Kazan Panosu : Pano Özel Zümrüt ısıya üretilmiştir. Enjeksiyon kalıplarda imalatı yapılmaktadır. Pano iç dizaynı tam dijital kaliteli elektrik malzemeleri kullanılarak oluşturulmuştur.






| MANUEL KAZAN | |||||||||
| KRİTERLER | BİRİM | KTS 20 | KTS 25 | KBO 45 | KBO 60 | KBO 80 | KBO 120 | KBO 150 | KBO 200 |
| ÖLÇÜLER | A (cm) | 61 | 61 | 61 | 73 | 75 | 95 | 100 | 108 |
| B (cm) | 65 | 65 | 70 | 79 | 111 | 105 | 125 | 148 | |
| C (cm) | 120 | 140 | 150 | 163 | 163 | 180 | 180 | 180 | |
| KAZAN AĞIRLIĞI | Kg | 185 | 185 | 260 | 350 | 460 | 800 | 1000 | 1120 |
| KÖMÜR KAPASİTESİ | Kg | 30 | 30 | 45 | 70 | 100 | 150 | 180 | 250 |
| KAZAN SU ÇIKIŞI - DÖNÜŞÜ | İnch | 1" | 1" | 1" | 1 1/4" | 1 1/2" | 2" | 2" | 2 1/2" |
| KAZAN SU DOLDURMA-BOŞALTMA | İnch | 1" | 1" | 1/2" | 1/2" | 3/4" | 3/4" | 3/4" | 3/4" |
| KAZAN İMBİSAT SU ÇIKIŞI - DÖNÜŞÜ | İnch | 1/2" | 1/2" | 1" | 1" | 1" | 1 1/2" | 1 1/2" | 1 1/2" |
| FAN DEBİSİ | m3/h | 380 | 380 | 380 | 380 | 380 | 600 | 600 | 600 |
| BACA ÇAPI | Q (mm) | 127 | 127 | 127 | 170 | 200 | 270 | 270 | 270 |
| SU HAÇMİ | Lt | 55 | 55 | 80 | 120 | 160 | 270 | 340 | 400 |
| İŞLETME BASINCI | Bar | 3 | |||||||
| MAX. ÇIKIŞ SUYU SICAKLIĞI | C | 90 | |||||||
| MAX. DÖNÜŞ SUYU SICAKLIĞI | C | 70 | |||||||





